快盈v3

上海川沪阀门有限公司
PS型电动执行器图片
驱动形式 直行程
驱动电压 AC 220V(AC380V,DC24V)±10% /50Hz,DC24V
输入信号 4-20mA;0-10mA;0-5;1-5V;0-10V
输出信号 4-20mA;0-10mA;0-5;1-5V;0-10V
基本误差 ±1.0%(以额定行程的百分数表示)
灵敏度 0.5-2%可调(以额定行程的百分数表示)
防护等级 IP67
防爆形式 标准型(不防爆)

PS型电动执行器 型号:PS

PS型电动执行器是电动单元组合仪表DDZ系列中的执行单元产品之一,执行机构与调节阀本体构成电动调节阀,是工业过程测量和控制的系统中的执行调节机构;它内置伺服放大器,接收标准4-20mA信号,以AC220V或:AC380V AC24V DC24V等电源为动力,采用永磁直流电机为驱动电机,微处理数字控制电路和机械传动组合成一种科技创新的智能化仪表。
PS型系列电子式直行程电动执行机构具有体积小、重量轻、力矩大、噪声低、精度高、运行平稳、抗干扰性强、防护等级高等优点, 被广泛应用于石油、化工、冶金、电站、轻纺、食品、医药、饮料等工业部门中。

PS型电动执行器 技术参数

1.智能化—以微处理为核心控制器,实现多功能。
2.一体化—具有机电仪一体化设计思想,结构合理。
3.系列化—执行机构输出力选择范围多,与阀门连接方式多样化。
4.轻量化—产品体积小重量也明显减小,另外材料采用轻金属后使执行机构的重量减轻。
5.操作便—实现阀门位置的自动定位,大大方便操作人员的烦琐调试。
6.精度高—传动全部采用小齿隙高精度齿轮,具有效率高、噪声低、寿命长、稳定可靠、无需再加油等特点。
7.电机好—驱动电机采用高性能稀土磁性材料制作的永磁直流电机,运行平稳。具有体积小、力矩大、抗堵转、控制精度高等特点。

PS型电动执行器 技术参数

环境温度 -25℃~65℃;
相对湿度 ≤95%;
电源电压 AC 220V(AC380V,AC24V)±10% /50Hz,DC24V
基本误差 ±1.0%(以额定行程的百分数表示)
灵敏度 0.5-2%可调(以额定行程的百分数表示)
输入信号 4-20mA;0-10mA;0-5;1-5V;0-10V
输出信号 4-20mA;0-10mA;0-5;1-5V;0-10V
输入阻抗 250Ω
输出阻抗 <600Ω
防护等级 IP67

PS型电动执行器 规格大小

标准
型号
推力
(kN)
速度
(mm/s)
大行程(mm) 电源 电机
率(W)
电机保护 手动
操作
防护等级 重量(kg)
PSL-202 2.0 0.8 50 按要求 20 允许堵转 手轮 IP67 7.5
PSL-204 4.0 0.8 50 按要求 40 允许堵转 手轮 IP67 7.7
PSL-208 8.0 0.8 65 按要求 60 允许堵转 手轮 IP67 9.6
PSL-210 10.0 0.8 65 按要求 80 允许堵转 手轮 IP67 9.8
PSL-312 12.0 1.0 100 按要求 100 允许堵转 手轮 IP67 22.0
PSL-316 16.0 1.0 100 按要求 120 允许堵转 手轮 IP67 22.4
PSL-320 20.0 1.0 100 按要求 140 允许堵转 手轮 IP67 23.0
PSL-325 25.0 1.0 100 按要求 160 允许堵转 手轮 IP67 23.0

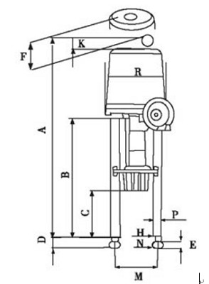
PS型电动执行器结构图

PS型电动执行器结构图

PS型电动执行器安装尺寸

型号 外形尺寸
A B C D E F H M P R
PSL-202
PSL-204
459 237 116 35 30 120 ¢16 100 φ20 φ177
PSL-208 560 256 120 35 35 150 ¢16 100 φ20 φ197
PSL-210 560 256 120 35 35 150 ¢16 118 φ20 φ197
PSL-312
PSL-316
PSL-320
PSL-325
788 450 174 45 25 230 ¢20 155 Φ32 Φ218

PS型电动执行器接线图

PS型电动执行器接线图
由于产品改进技术创新参数可能有一定变化,公司不另行通知,请联系我司和索要PS型电动执行器产品详细样本。
  • PSL电动执行器
  • 执行器和附件
    PSL电动执行器(配调节阀使用组成电动调节阀、输入输出信号4-20mA)
  • 气动薄膜执行器
  • 执行器和附件
    气动薄膜执行器(配调节阀使用组成气动调节阀、单作用带弹簧复位)
  • HEP阀门定位器
  • 执行器和附件
    HEP阀门定位器(接收控制信号4-20mA、输出气压到气动执行器、控制调节阀开度大小)
  • ZPD电气转换器
  • 执行器和附件
    ZPD电气转换器(接收控制信号4-20mA、输出气压到气动薄膜执行器、控制调节阀开度大小)
  • 保位阀
  • 执行器和附件
    保位阀(气源故障后、保位阀切断气源通道、使阀门保持断气前位置)
  • 空气减压阀
  • 执行器和附件
    空气减压阀(配合定位器使用、减小空压机管道送过来的气源压力、使得执行器正常工作)
  • 气源三联件
  • 执行器和附件
    气源三联件(过滤空压机气源、并且控制气源压力大小、使得气压符合执行器气压使用)

PS型电动执行器 订货流程

  • 客户来电咨询:021-5186 3046
  • 客户采购清单传真至:021-5186 3049
  • 收到客户采购清单,为客户提供阀门型号选型与报价单

PS型电动执行器 订货须知

  • 公称通径
  • 公称压力
  • 连接方式
  • 执行机构有无特殊要求(可以根据客户要求配置)
  • 工艺介质及状态
  • 阀前压力、阀后压力
  • 大、正常、小流量
  • 使用温度
  • 有无特殊要求
快盈v3